青(qīng)島昌(chāng)源隆紡織機械有限公司官網

青島昌源(yuán)隆紡織機械有限公(gōng)司

六輥混料機

  • 型號CYLHL
  • 品牌www国产亚洲精品

輸送簾將原料送(sòng)入,並由六個混料輥和輸送簾組成一個循環體係,把原料裏的塊狀打開並把兩種或兩種以上的原料攪拌均勻。


混料給棉機:對多種纖維進行混料均勻,達到連續生產的目的。

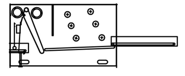
混料給棉機機構(gòu)示(shì)意圖

(上圖為結構示意圖,不完全與實際設備相同(tóng))

 ✤工作原理:輸送簾將原料送入,並由六個混料輥和輸送簾組成一個循環體係,把原料裏的塊狀打開並把兩種或(huò)兩種以上的原料攪拌均勻。

 ✤用(yòng)途特點:多種纖維混合喂入,初步開鬆混合,同時除金屬除雜質。

 ✤技術參數:

工作寬度:100mm-3200mm

生產能力:≤500kg/h

輸送簾(lián)及傳動電機:1.5KW

 ✤機構特點(diǎn):

(1)兩側機架由優質鋼(gāng)板焊(hàn)接(jiē)而(ér)成(chéng),中間由型鋼支撐(chēng),結構穩固。

(2)采用旋轉分離裝置(zhì),使纖(xiān)維能均勻分布在倉(cāng)內。

(3)儲棉(mián)簾采用鍍鋅板數控加工,內壁光滑。

(4)打手采(cǎi)用角釘(dìng)結(jié)構。

 ✤安全防護:

(1)所有傳動部位均有保護罩保護。

(2)電器部(bù)分設有過載保護、過電流保護、短路保護、緊急停車按鈕。

(3)必(bì)要部(bù)位設有(yǒu)警告標記。